⚡ The Analog #95: Investigation into Boeing Starliner Failures
August 27th, 2024
Interested in partnering? Send us a note at info@hardwarefyi.com
Featured Content:
Roboze is looking for an Applications Engineer (Aerospace & Defense) in Los Angeles, CA
CRABI Robotics is looking for a Mechanical Design Engineer in Boston, MA
Instrumental is hosting the Build Better 2024 Summit on October 16th, a knowledge event for manufacturing leaders in engineering, quality, operations, and reliability across the electronics industry.
Join our Discord for insider conversations and a community that’s as curious as you are.
Interesting Links 🏭
NASA will bring back stranded astronauts on SpaceX's Dragon Capsule in early 2025, and not Boeing’s Starliner after what was supposed to be an 8-day mission turned into a multi-month ISS stay due to ongoing propulsion issues with malfunctioning thrusters and helium leaks. While detailed technical information is limited, insights from Steve Stich, NASA’s commercial crew manager and this thread by Jordan Noone, former CTO of Relativity Space offers a glimpse at the potential issue. Higher operating temperatures resulted in thermal failure of RCS seals due to heavy use of thrusters during docking. Expansion of Teflon seals in reaction control system thrusters has been studied for >20 years (see NASA’s paper here). However, it seems the valve seals were tested and designed under incorrect requirements (lower duty cycles), resulting in flawed thermal analysis. Tests showed that under high temperatures, the Teflon seal on the oxidizer line swelled, reducing the flow of oxidizer—a critical component that provides the oxygen needed for fuel combustion.
The issue likely arose because the thrusters were tested and designed for a duty cycle lower than what was actually used during the mission. This points to a larger problem of communication and requirement scoping. A breakdown in communication with a key vendor, Aerojet Rocketdyne, resulted in incorrect design requirements being passed on to engineering and test teams. Starliner's thrusters are supplied by Aerojet Rocketdyne, which in turn also relies on a network of subcontractors.
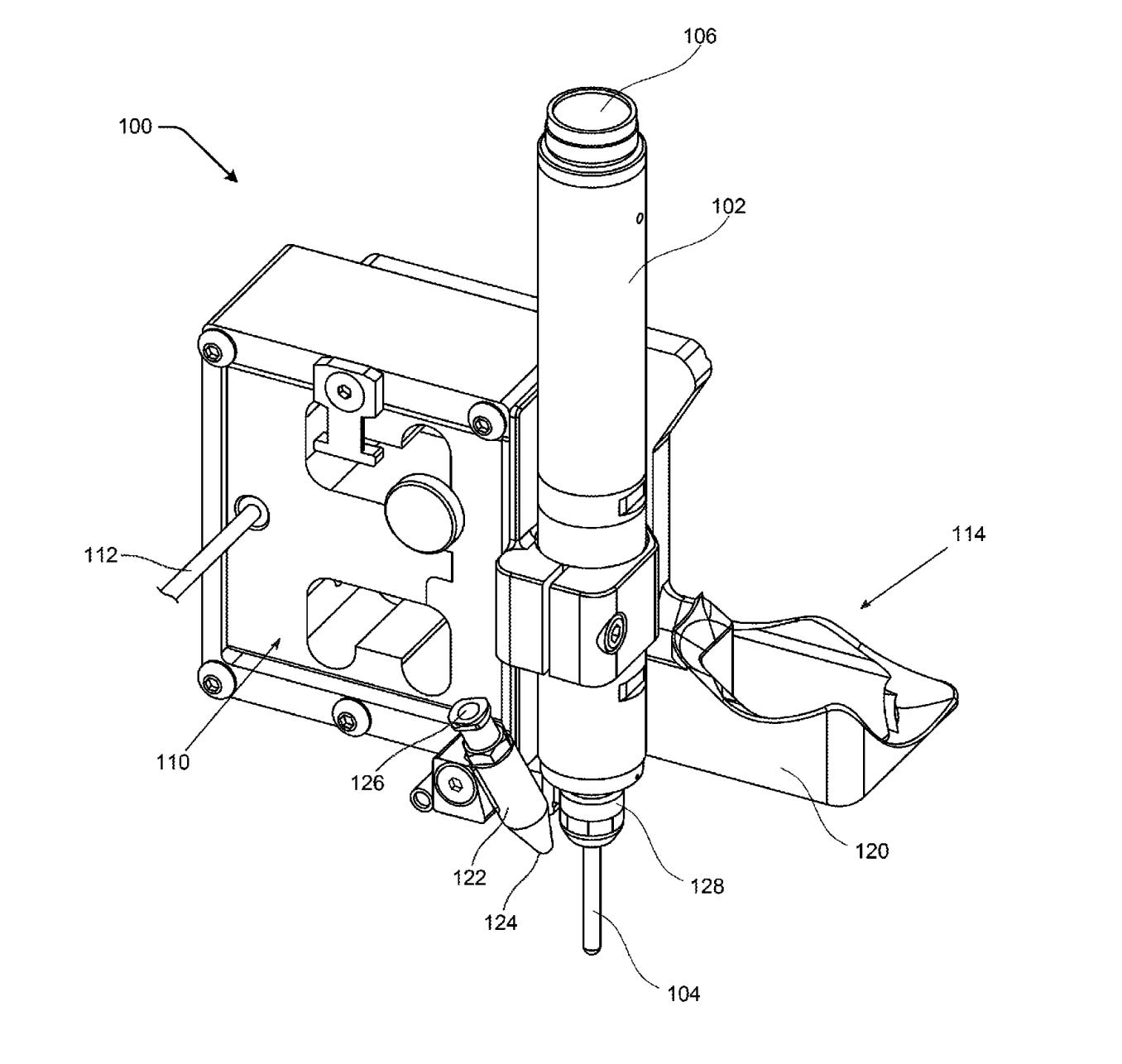
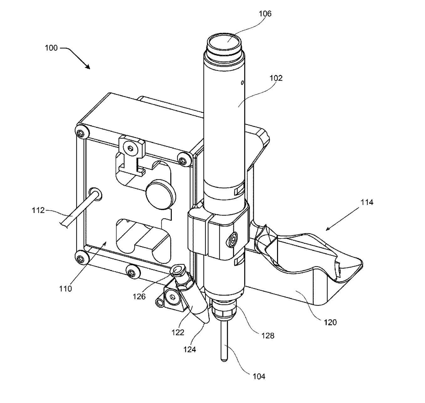
Neuralink's brain-computer interfaces are implanted in human patients through a procedure that involves removing a small section of the skull, known as a craniotomy, to expose the brain for implantation. According to the patent application (US 20230165594A1), this system includes a CNC milling machine, a controller to manage the feed rate, an axial force sensor, and an impedance measurement system. The system adjusts the feed rate of the end mill in response to changes in impedance or variations in the axial force applied. Additionally, the system's end effector is mounted on a movement mechanism driven by multiple servo motors for precise adjustments.
Jack Wilson's classic case study on Apple's global supply chain offers a deep dive into the intricate web of the tech giant’s suppliers, and where profits are captured by Apple and external partners. He states that it’s possible for entrepreneurs to find a profitable niche in the supply chain of large companies, but it comes with associated risks: it’s like “sleeping with an elephant –every time it rolls over there is a challenge to remain undamaged.”
Another interesting note from the study: Apple’s success with the aluminum, unibody construction of all Macbooks affected competition not only in reduced sales, but the availability of CNC lathes capable of making the aluminum unibodies. At the time in 2011, Catcher Technology and Foxconn both owned more than 10,000 CNC lathes and are major suppliers to Apple. As such, other companies had to compete for capacity or switch to other materials, like plastic-fiberglass composites.

The Netherlands has the equivalent of 25 medium nuclear power plants worth of residential solar installations that are managed by non-European, unregulated solar power management software services. These companies have the ability to turn panels on & off and apply firmware updates. This poses a significant cybersecurity risk for European nations and abroad as a large-scale, intentional or accidental shutdown could destabilize grid frequency. The danger was highlighted recently when a Dutch hacker gained control of 4 million solar panel installations.
SolarPowerEurope has proposed a list of common device-specific standards (IEEE 1547.3) and horizontal industry standards (ISO27001)
Kronos has partnered with China's Yasheng Group to co-develop a Ni-63 nuclear battery with a 50-year service life. In this collaboration, Kronos will manage intellectual property filings in North America, while Yasheng will do the same in China. This partnership is noteworthy as it could accelerate the adoption of long-life nuclear battery technology in North America, following a similar announcement earlier this year by another Chinese firm, Betavolt, which introduced a Ni-63 battery with similar specifications. These long-duration batteries are particularly valuable for medical devices and other applications requiring high service life over extended periods.
Construction Physics explores the Heavy Press Program, a 1950s U.S. Department of Defense initiative that built enormous forging and extrusion presses, some as tall as ten-story buildings. These 50,000-ton presses transformed aircraft manufacturing by cutting part counts dramatically—replacing 272 parts and 2,700 rivets with just 4 forgings—and slashing costs by up to 10% on planes like the B-52.
Building an E-7A battle management and command aircraft is a marathon—it takes about 5 years from start to finish. The process kicks off with a 2-year wait just to get the Boeing 737-900 platform. After that, nearly three more years are spent retrofitting the aircraft. And for the first few models, there's an extra 12-month certification program to navigate.Unfortunately, there aren’t many options for speeding up production. Boeing could try to rush some key components, but using a tightly regulated civilian platform like the 737 complicates things. Its inflexibility makes in-situ modifications during production nearly impossible.
Design Competition Winner 🏅
Congratulations to our grand prize winner, Maxime Voitot, for his design of Machinist's Coffee Cup Holder in our design competition with SendCutSend! The full list of winners can be found here.
Startup News 🚀
Cuberg, a startup developing lithium-metal batteries acquired by Northvolt, is closing down and shifting development of their lithium-metal battery technology to Sweden. The company was acquired by Northvolt in 2021, and had been developing batteries for automotive and high-performance aviation applications with stated higher energy density and range capabilities compared to lithium ion batteries. Northvolt, a Swedish battery manufacturer, has raised ~$20 billion in overall funding through a combination of equity, debt, and grants.
Starpath has raised a $12 million seed round to accelerate their moon water mining plans. Starpath’s core product centers around water-harvesting architecture with mining rovers, refineries, and liquid oxygen (LOX storage). Liquid oxygen, refined from lunar water ice in Starpath’s design, is a key component of propellant for spacecraft vehicles. The round was led by 8VC and Fusion Fund.
Astroforge has raised a $40 million Series A where the capital will go toward the company’s third mission: the first private landing on an asteroid. The company is currently developing a spacecraft launching on Intuitive Machine’s IM-3 in 2025, capable of landing on a target asteroid and characterizing its composition. Development hasn’t been without sets of issues, with comm issues in 2023 and the company’s second spacecraft failing vibration testing earlier this year. The round was led by Nova Threshold.
Trunk Tools has raised a $20 million Series A led by the team at Redpoint Ventures with participation from Innovation Endeavors. The company is building automation tools for the construction industry, primarily centered around organizing unstructured construction documentation (ala ““AI Agent for Construction Management”).
AI agents capable of processing unstructured data has been a big investment thesis from VC over the last year’s; the companies we see raising notable capital are taking the same idea and applying it to a specific industry.
Beyond Math has raised $8.5 million in seed funding to build their AI-based multiphysics simulation platform. Their first target market is Formula 1 racing, building CFD simulation software specifically centered around a “digital wind tunnel” that can provide airflow simulations over the body of the car with much shorter computation times. The round was led by UP Partners.
Open Jobs 💼
Sponsored:
CRABI Robotics is looking for a Mechanical Design Engineer in Boston, MA
Shinkei Systems is looking for a Field Engineer in Los Angeles & Morro Bay, CA
Entry-Level:
Gecko Robotics is looking for an Electrical Engineer (New Graduate) in Pittsburgh, PA
Advanced Energy is looking for a Graduate Electronics Engineer in Wilmington, MA
Lucid Motors is looking for a Chassis Design & Release Engineer I in Newark, CA
Mid-Level:
Tesla is looking for a Mechanical Design Engineer (Aerodynamic Prototype, New Programs) in Hawthorne, CA
Verkada is looking for a Hardware Sustaining Engineer in San Mateo, CA
Backbone is looking for a Product Design Engineer & Electrical Engineer in Atherton, CA
Senior to Staff:
Block is looking for an Electrical Design Engineer, Proto in San Francisco, CA
Albedo is looking for a Senior Electrical Engineer in Denver, CO
Apptronik is looking for a Senior Mechanical NPI Engineer in Austin, TX
Internships:
Qualcomm is looking for an Electrical Engineering Intern (RF, Analog Design, Mixed Signal), Summer 2025 in Boxborough, MA
Saronic Technologies is looking for an Electrical Engineering Intern in Austin, TX
Qualcomm is looking for a Mechanical Engineering Intern (Summer 2025) in Santa Clara, CA
Johnson & Johnson is looking for a R&D Leadership Development Program Intern (Summer 2025) in Santa Clara, CA
Rocket Lab is looking for a Mechanical Engineering Intern (Spring 2025) in Long Beach, CA
To see the full list of open roles, visit our job board. Want to share an exciting role at your company? Reach out to us at info@hardwarefyi.com.
Meet our Sponsors:
Sygma is building the AI assistant for hardware teams - track issues smarter, stay on schedule and on budget, and ship faster.
Doss simplifies your operations by tracking inventory from PO to POS.
SendCutSend manufactures custom sheet metal parts, delivered directly to your door.
FlashPCB provides super-fast PCB assembly by running design rule checks on your board, automatically generating a BOM, and final quotes within minutes.
POP Manufacturing offers rapid prototyping and quick-turn services for FDM, PolyJet, full-color 3D printing, and CNC machining.
Summit Interconnect is a manufacturer of advanced technology printed circuit boards focused on complex rigid, flex and rigid-flex PCBs.
Cofactr is an automated electronic component procurement and inventory management platform.
AllSpice.io is the Git for hardware collaboration platform, connecting native engineering design tools to provide revision control, automation and more.
Partsbox controls your electronic components inventory management software. Keeps track of where your parts are stored, manages BOMs and production.
Roboze manufactures high-performance super polymers and composites through advanced 3D printing, creating parts strong like metal.
Looking to get ahead in your career? We offer interviewing resources for engineers!
For all resources available, check out our home page.
Thanks for reading to the end - if you’ve enjoyed the mechanics of these insights, consider sharing this email with a fellow enthusiast!







